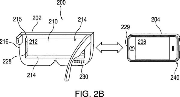
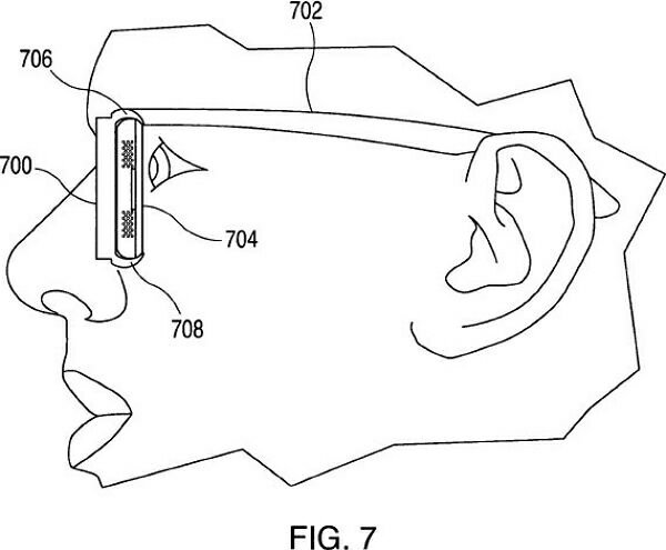
Пару дней назад USPTO (патентное бюро США) опубликовало ряд патентов, которые были выданы Apple. В их числе оказался и документ №8957835 на «носимое на голове крепление для портативного электроустройства с дисплеем». Речь идет о шлеме или очках виртуальной реальности.

Творение, которое планирует выпустить «надкусанная» компания, напоминает Samsung Gear VR, в котором в качестве дисплея используется смартфон Galaxy Note 4. Разработчики Apple также намерены связать работу своей новинки со смартфоном – он будет вставляться в конструкцию, напоминающую очки.
В заявке, которую в бюро патентов подали «яблочники», описана возможность вывода на экран сразу нескольких изображений. Для этого предусмотрена функция Picture-in-Picture, позволяющая одновременно показывать основную картинку, а также кое-какую дополнительную информацию, допустим, уведомления о полученном e-mail.

Для управления очками можно использовать органы управления, размещенные на самом устройстве, или же специальный пульт ДУ. Также предусмотрено управление голосом.

Следует отметить, что заявка была подана Apple задолго до появления на рынке Gear VR, в 2008 году.








