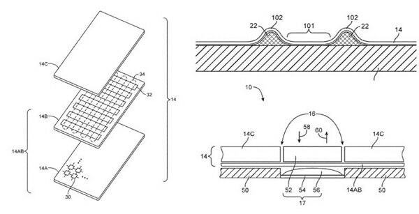
Известно, что в документе речь идет об использовании в «яблочных» устройствах дисплеев с тактильной обратной связью.

В описании технологии сообщается, что на экранах будет предусмотрена структура, имитирующая кнопки и другие виртуальные объекты. При этом закрепление структурных элементов предусматривает два варианта: они могут быть статично закреплены или реагировать на силу нажатия. Первыми такое новшество на себе смогут испытать модели Apple iWatch. Если дебют технологии окажется удачным, то ее, скорее всего, внедрят и на других «надкусанных» продуктах.
Запатентованная технология также позволяет размещать ряд электронных компонентов, в том числе динамики и микрофон, под экраном. В таком случае дисплейная панель отвечает за проводимость сигнала.

Эксперты считают, что вероятнее всего, новые гибкие дисплеи будут установлены в очередном поколении Apple Watch. Однако не стоит отбрасывать и вариант, что компания реализует задуманное в одной из будущих моделей iPad и iPhone.
Как скоро будет реализована вышеописанная технология пока не известно.








